KNOWLEDGE/知识

贝永智创“知识”栏目持续分享网页设计、小程序开发与UI/交互相关知识点,包含手机端页面视觉设计、布局规范、配色字体、组件交互、常见功能实现思路与上线注意事项。内容以实战经验为主,帮助企业与新手快速避坑、提升页面效果与转化。

您当前位置> 主页 > 知识

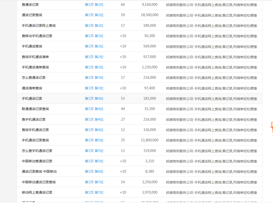
通话网上查询案例

发表时间:2026-02-11 08:04:59

文章作者:

浏览次数:

通话网上查询案例

标题:邦德商务服务公司-手机通话网上查询,看记录,列清单轻松便捷

关键词:联通通话记录查询,怎么查手机通话记录,移动通话记录查询,通话记录删除

描述:邦德商务调查有限公司是一家资质优秀的综合性通讯信息调查服务机构。为大家提供中国移动,联通手机通话记录删除与查询方法,免费分享最新的通话记录删除方法。以服务至上,客户第一的原则,尽心尽职为客户服务。

通话网上查询案例(图1)

网站优化

通话网上查询案例

相关案例查看更多