工商营业执照代办理优化案例
发表时间:2026-02-16 08:03:09
文章作者:
浏览次数:
工商营业执照代办理优化案例
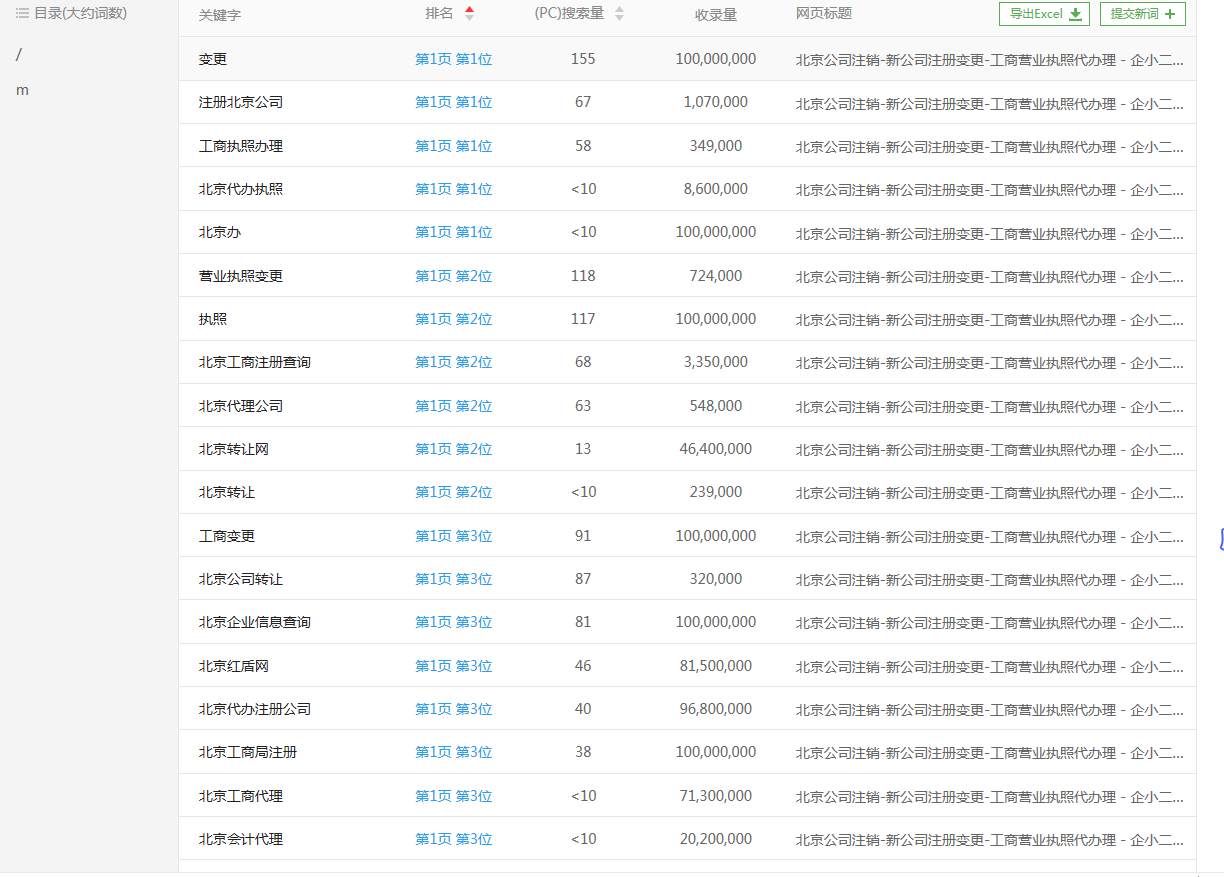
标题:北京公司注销-新公司注册变更-工商营业执照代办理 - 企小二代理记账
关键词:北京代办执照,北京代理记账,北京公司变更,北京公司注册,北京公司注销,北京办营业执照,北京工商注册,北京注册公司
描述:企小二(北京)企业服务有限公司专注北京周边地区新公司注册、代理记账、公司注销、公司变更、工商代办、营业执照代办理等服务,企小二作为政府授权,天使轮投资为企业提供高新企业认定、商标注册等一站式企业服务!


工商营业执照代办理优化案例